机械设计需要周密的考虑,每个细节都得仔细斟酌,稍有疏忽,就会在制造、使用、维护过程中造成麻烦。
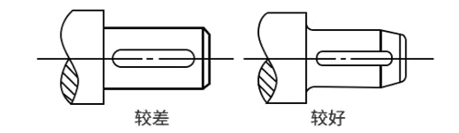
一个轴类零件,如果忽略了截面形状发生突变处的应力集中,则会增加零件失效的概率,设计时应尽量避免。
若需要制成阶梯结构,采用较大的过渡圆角,可以减小应力集中。阶梯形轴相邻轴段的直径不宜相差太大,过渡部分要平缓,圆角半径应尽可能取大些,必要时可采用角度过渡。
看似相差无几的设计,实际效果有着天壤之别。在设计非标零件时,借鉴前人用血泪经验总结的机械设计禁忌案例,可以避免很多不必要的出错。
01
在一根轴上,用平键分别固定两个零件时,要在轴上开两个键槽,为了加工方便,键槽应布置在同一母线上。如果两零件要求错开某一角度,轴上键槽仍应在同一母线上。
02
如一个轴上有几个零件,孔径相同,与轴连接时,建议用一个连通的键。因为分段连接,各键方向不完全一致,安装时推入轴上零件困难,甚至不可能安装。
03
零件与轴如采用平键连接传递转矩,当转矩较大,必须用双键时,两键应位于一个直径的两端(即相差180°),以保证受力的对称性。为保证两键均匀受力,键和键槽的位置和尺寸都必须有较高的精度。
04
为了确定零件位置,常要用两个定位销,这两个定位销在零件上的位置,应尽可能采取距离较大的布置方案。这样可以获得较高的定位精度。

05
对称结构的零件,为保持与其他零件准确的相对位置,不允许反转180°安装。因此定位销不宜布置在对称位置,以保证不会反转安装。
06
销钉必须容易从销钉孔中拔出。取出销钉的方法有:把销钉孔做成通孔,采用带螺纹尾的销钉(有内螺纹和外螺纹)等。对盲孔,为避免孔中封入空气引起装拆困难,应该有通气孔。
07
过盈配合件在开始装入时比较难装入,因此,相配的两个零件入口处都应设计出倒角,或起引导作用的锥面。
08
这样做是为了防止轴上零件发生晃动。若配合直径为d(mm),配合部分长度(mm)的最小值推荐为:Imin=4d⅔。
09
过盈配合的轴毂连接面上,应使键先插入键槽(如左图减小轴端直径),然后再装入过盈配合。
这是因为当过盈配合压入一段后,键与键槽有一些未对准,无法靠平键的圆头使轴转动,调整轴的位置使之插入键槽。在设计结构时,也可把轴端作出较大锥度以利于装配。
10
当过盈配合在压入或用温差法装配时,不易控制零件的位置,完成安装后,又不好调整其位置。因此过盈配合件相配时,应该有轴肩、轴环、凸台等定位结构,装入的零件靠在定位面上即为安装到位。
在不便于作出轴肩、轴环、凹台时,可以用套筒,定位块定位,甚至可在安装到位后,再把为安装方便设置的临时定位结构拆除。
11
锥面配合表面,靠轴向压入得到配合面间的压紧力,实现轴向定位并靠摩擦力传递扭矩。对锥面配合不能在轴上用轴肩定轴上t零件,否则可能得不到轴向的压紧力。
12
使链条首尾相接的链节,要用一个卡簧锁住。应注意止锁零件方向与链条的运行方向相适应,以免冲击、跳动、碰撞时卡簧脱落。
13
带传动长度尺寸误差较大,而且工作中它的长度不断增加(被拉长)。为保持一定的初拉力,实现带与轮间的摩擦传动,带轮的中心距应该可以调整,或用其它张紧装置(如张紧轮)。
14
与带传动相反,链传动应该紧边在上。松边在上时,由于松边链下垂度较大,链与链轮不易脱开,有卷入的倾向。尤其在链离开小链轮时,这种情况更加明显。如果链条在应该脱离时未及时脱离,则有将链条卡住或拉断的危险。
15
同一机器或部件中,采用的轴或销轴零件,其外形尺寸完全相同,仅材料及热处理方式不同,在装配时很难区分,为避免出错,设计时应使这种零件的外形尺寸有明显区别。
16
在空心轴段上采用键连接时,要注意空心轴的壁厚。如果键槽下部太薄,就有可能使其过分变弱而导致轴损坏。
17
如果联轴器连接螺栓的头,螺母或其他凸出物等从凸缘部分突出,则由于高速旋转而搅动空气,增加损耗,或成为其他不良影响的根源。最好使凸出物埋入 联轴器凸缘的防护边中。
18
当轴的两端被驱动的是车轮类的传动件时,要求两端同步转动,否则会产生动作不协调或发生卡住。
如果采用联轴器和中间轴传动,则联轴器一定要使用无弹性元件的挠性联轴器,否则会因弹性元件变形,使两端扭转变形不同,达不到同步转动。
19
因为十字滑块联轴器中的十字盘是浮动的,容易造成中间轴运转不稳,甚至掉落。在这种情况下,应改用别的类型联轴器,例如采用具有中间轴的齿轮联轴器。
20
直齿圆锥齿轮不论转向如何,其轴向力始终指向大端。但仍应双向固定其轴系的轴向位置,否则将有较大的振动和噪声。
-End-
免责声明:本文系网络转载或改编,仅供学习,交流所用,未找到原创作者,版权归原作者所有。如涉及版权,请联系删。
来源:非标机械专栏