首页/文章/ 详情

比亚迪的“油冷”是这么来的!

1月前浏览133

前言

随着新能源汽车市场的蓬勃发展,电机冷却技术成为了各大车企竞相研发的焦点。特斯拉的油冷电机技术自问世以来,便以其独特的设计和高效的冷却性能吸引了业界的广泛关注,市面上相关介绍文章也层出不穷,相反BYD的油冷介绍就很少,本文通过讲讲BYD转子甩油技术,来谈谈创新。

             

 BYD油冷


01#


特斯拉转子甩油与byd油冷甩油

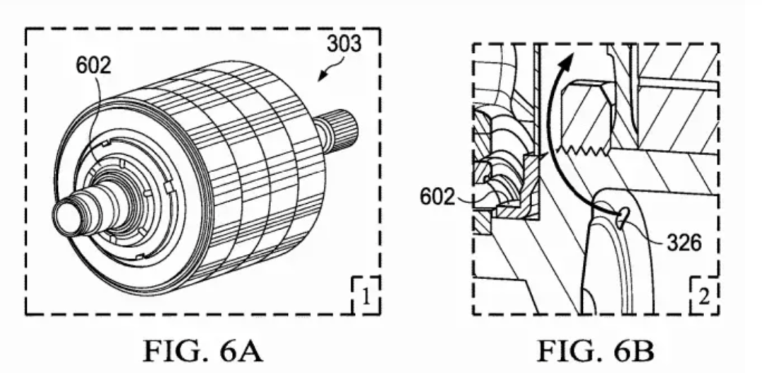
在探讨BYD油冷技术之前,我们先来了解一下特斯拉的转子甩油方案。特斯拉的转子甩油技术通过轴孔将润滑油甩向定子绕组内侧,实现对电机的冷却。然而,这种甩油方式是直角甩出,且油孔距离定子绕组有一定的距离,因此油路并不一定能够高效地将油甩到绕组上。


             
             

特斯拉油冷方案


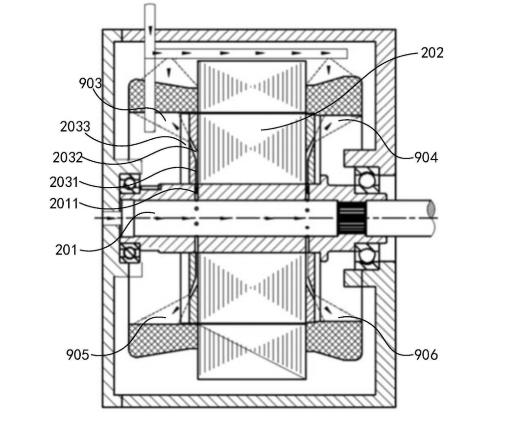
比亚迪在深入研究特斯拉油冷技术的基础上,发现了其存在的弊端,并进行了针对性的改进。BYD的油冷技术采用了独特的平衡环甩油方案。在BYD的油冷技术中,转子轴上的ATF油经过平衡环油道,以一个倾斜的角度喷向绕组。这种喷油方式不仅路径更短,而且喷油角度更加合理,使得润滑油能够更直接、更均匀地覆盖在绕组上。这样一来,绕组的散热效果得到了显著提升,电机的运行效率和寿命也得到了有效保障。 


             
             

比亚迪油冷方案


02#


BYD油冷技术的创新点


总结下来BYD油冷技术的创新点主要体现在以下几个方面:


1

平衡环甩油方案


这一方案的设计灵感来源于对特斯拉油冷技术的深入分析和研究。比亚迪在发现特斯拉甩油方案的弊端后,通过改变甩油路径和喷油角度,成功提高了油冷技术的冷却效果。


2

喷油角度和路径的优化


在BYD的油冷技术中,喷油角度和路径的优化使得润滑油能够更直接、更均匀地覆盖在绕组上,从而提高了电机的散热效果。




BYD的油冷技术并非一蹴而就。这个创新点子的诞生,源于比亚迪对特斯拉油冷技术的深入研究和对自身产品的深刻反思。他们发现,特斯拉的油冷技术虽然先进,但仍有改进的空间。于是,比亚迪在特斯拉的基础上,结合自身的技术积累和市场需求,成功研发出了更加优秀的油冷技术。


03#


从BYD油冷技术看创新的力量


BYD的油冷技术是一个值得我们深入研究和学习的案例。其实类似byd的例子还有不少,比如博格华纳向心油冷技术,就是发现了特斯拉和Lucid油冷的弊端(之前文章油介绍),对其进行优化了产生的创新。


总之,BYD的油冷技术是一个值得我们深入研究和学习的案例。它不仅仅是一种技术革新,更是一种创新思维的体现。在未来的发展中,我们有理由相信,这种创新思维将会引领新能源汽车技术走向更加美好的未来。


来源:电动新视界

Workbench汽车新能源电机NVHANSYS
著作权归作者所有,欢迎分享,未经许可,不得转载
首次发布时间:2025-09-10
最近编辑:1月前
电动新视界
新能源汽车相关技术信息分享,新...
获赞 98粉丝 176文章 1616课程 0
点赞
收藏
作者推荐

吉利汽车2025年中期年报

吉利汽车2025年中期年报全文完~ 免责声明:以上观点仅代表作者个人看法,与本平台无关。PPT文档版权归吉利汽车控股有限公司所有,分享本文仅供学习参考,切勿用于商业用途,如涉及版权问题,请第一时间告知我们删除,非常感谢。来源:电动新视界

未登录
还没有评论
课程
培训
服务
行家
VIP会员 学习计划 福利任务
下载APP
联系我们
帮助与反馈