我是非常喜欢听音乐的,所以一直都想要一台自己做的功放。不过后来发现,想要做一台好的功放,就需要一个散热性能好的机箱,但机箱很贵……
最近终于狠心买了一台,就当股票亏了两百块嘛~
01
收到外壳后,先组装起来,如下图所示:

由于最近几次试验的板子不是按照这个机箱的内部尺寸做的,所以找到了第一个版本的1875单路模块。
按照原厂推荐线路绘制,安装完毕,然后连接变压器、电源滤波板,测试效果非常OK!


注意事项:之前不知道啥情况,发热很严重。后来才注意到,散热片与芯片的金属散热背板一定要做好绝缘隔离,所以我又买了散热硅脂和绝缘片。

▲矽胶绝缘片

▲云母绝缘片

▲绝缘粒子
切记:如上图所示,绝缘配件一定要有!虽然很便宜,但是没了真不行,真的会影响很大。这些绝缘片与芯片、散热片之间均涂抹导热硅脂,以达到绝佳的散热效果。
机箱上使用的接线柱、莲花座、开关、调音旋钮,建议直接从机箱厂家这里购买,毕竟很配套。不然的话,你自己买来大小不合适就不好了,或者买之前查验和测量清楚也行。
另外,不推荐使用低音增强电路,因为那样就失真了,听音乐就要听高保真的!
现在滤波电路和变压器都是二手货堆起来的,打的新的滤波电路板还在路上,元件已经准备好,等板子来了,测试新的滤波电路效果,也更加方便接线。
这里强烈推荐模块化的设计,功放板做成单声道。这样方便组合,可以很容易做2.0,2.1,5.1,板子也可以重复利用。
下一步,准备按照机箱上散热器上的螺丝安装位置,做一个长条状的功放单声道模块。
在电源滤波器的设计上,建议多提供几路输出,方便同时给多个功放模块供电,不然接线很麻烦。
以上经验仅供参考。
全新的滤波器原理图如下所示:



经过比对测试,TI原装的1875T,音质最为爆满清澈,国产仿制品略微逊色一丢丢。
02
在制作过程中,最难的不是原理图,而是元件的选型。你是想让电路更漂亮、更好用,还是更廉价?这都是难以取舍的。
比如选用的CBB电容,参数的意义是什么?CBB22电容k和j有什么区别?经查资料区别如下:

K和J其实指的是电容的误差,电容在生产的时候,由于种种原因,不可能说生产什么样的容量,容值就100%精准。不管是什么样的电容,目前的技术水平都无法达到这样的要求。一般生产出来的电容容值,都会出现偏高或偏低的情况。只要在正常的误差范围,都是可以正常使用的。
对于CBB22电容来讲,常见的误差有K档和J档。
电容的误差一般用字母来表示:F(±1%)、 G(±2%)、J (±5%)、K(±10%)、 L(±15%)、 M(±20%)。
对于CBB22电容来讲,科雅电子一般做的都是J档(±5%)为主,有少部分电容属于K档(±10%)。
高精度的CBB22电容是怎么生产出来的?
一般CBB22生产完成以后,都会有一个自动检测机,这个机器会自动检测电容的容值,然后可以自动归类,把容值偏差小的放在一起,就变成了高精度的CBB22电容。当然,如果想购买的电容精度越高,所需要花费的钱也就越多。
对于大多数场合,J档(±5%)误差的CBB22电容,就已经足够使用了,过高精度必要性不大。
03
下一步是耦合电容的选择,在音频输入阶段,需要使用到耦合电容,如下图所示,音响里常用的电容分类如下,这也是正确的选择方式。

根据资料显示,CBB电容器一般应用在高频脉冲场合、交流场合、高稳定的定时场合、温度补偿电路、开关电源系统和彩电行业、仪器仪表、电视机及家用电器、电子整流器、各类接触器触点的高压电势吸收线路,以及照明LED电路、滤波、旁路、耦合等电路,所以CBB电容的作用更广泛。
所以,这里选择CBB电容。另外发现同样是CBB,有的好看,有的丑。好看且精度高的通常有很贵,还好漂亮的高精度耦合电容使用并不多,咬咬牙还是可以买几个使用的。
另外,限制选型的就是PCB的设计尺寸,不能放上去元件就看着突兀,或者看着贼拉丑,这里我准备选择225 63V 2.2UF MKS2威玛2.2UF音频功放电容升级我的电路,新的PCB正在设计中。
后续根据获得的收获继续更新。
这是采用WIMA的漂亮小封装CBB画的新板子,上图实物中的音频耦合电容用的是贴片电容。新版的PCB效果图如下所示:

有人说,没有前级的功放显得太单调,音质再好也显得简陋,不好卖个好价钱。
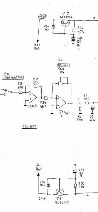
于是,我查了一下主流的前级该怎么做比较合适,然后找到了一款英国老牌音响“音乐传真”A1的前级电路图。
下面,请欣赏国外大神手绘的“音乐传真A1”前级放大原理图:

中间的部分就是的,上下的部分是供电原理图。
声明: